Új optikai álmennyezet kínálatunkban
Cégünket folyamatos fejlődés határozza meg, így az általunk képvíselt gyártókat, melynek köszönhetően bemutathatom legújabb optikai fém álmennyezet rendszerünket, mely a Integra LEAF baffle sávos álmennyezet. Ezen típus nagyon hasonló a korábban már bemutatott Vertical és Baffle típusokra, nagyfokú álmennyezeti áttörtség jellemzi, a perforált lamelláknak köszönhetően pedig tökéletes akusztika érhető el.

Az álmennyezet alkalmazását ajánljuk egy sor középületben, ahol fontos a nehezen éghető alapanyagok és akusztikailag tökéletes burkolatok használata. Ezen felületek lehetnek közlekedési csomópontok, irodaházak közösségi helyei, és egy egész sor középület, ahol fontos az egyedi arculat, hangulat megteremtése.
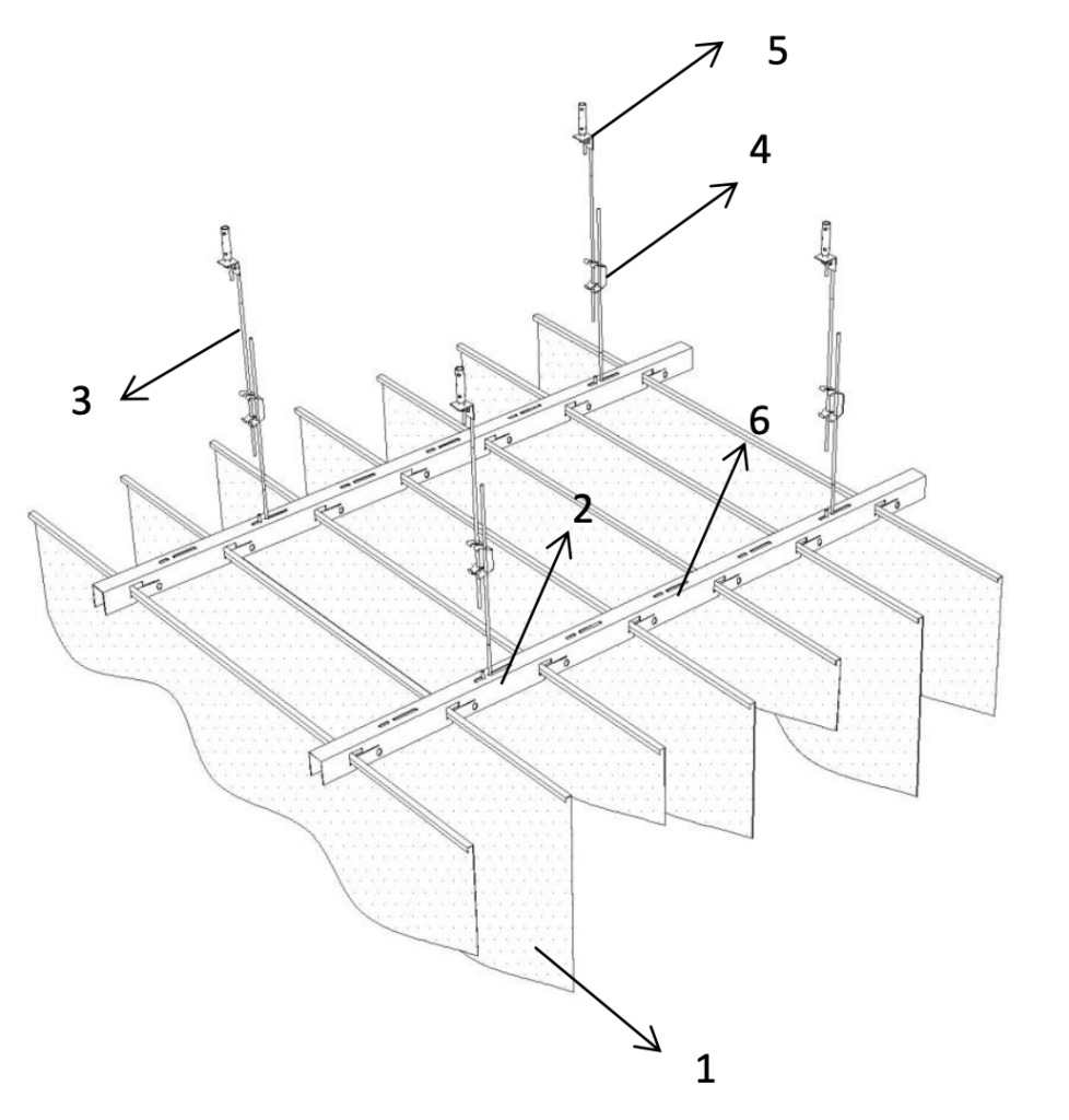
A Leaf Baffle típus szerkezeti felépítését az alábbi ábra jól szemlélteti.
1, Váltakozó méretű perforált lamella, egyedi.
2, Vezető sín 3000mm, fekete színben
3, Függesztő pálca, kampós
4, Dupla rugó
5, Függesztő pálca, kampós
6, Vezető sín toldó
7, Lamella merevítő elem
Az Leaf Baffle rendszer nagy előnye, a könnyű telepíthetőség, viszonylagosan kevés rendszer elemmel rendelkezik, így nagyon gyorsan szerelhető. A nagyfokú áttörtsége lehetővé teszi, hogy a gépészeti eszközök az álmennyezet felett kapjanak helyet, legyen ez akár tűzoltó berendezés is, melynek így nem kell kiépíteni második körét, mint a zárt álmennyezeteknél, megspórolva nem kis költséget.
És aki a tökéletes akusztikai tulajdonságot keresi, azoknak van arra is lehetőség hogy a födémen elhelyezzünk hangmegkötő szigetelő anyagot, így finomra hangolva a keletkező hangok semlegesítését.
Kérem tekintse meg a további rendszer rajzokat, mindkét nézetből (A-A) és (B-B), így jobban képet kapva az álmennyezet felépítéséről.



Az álmennyezeti lamella többféle színben és kialakításban rendelhető, akár adott projektre megálmodott módon, viszont tervezési folyamatot meg kell előznie egy pontos lehetőség felmérésnek, ahol tájékozódni lehet az aktuális lehetőségekről.
Remélem felkeltettük érdeklődését a termék irányában, várom megkeresésüket.
Hiba: Kapcsolatfelvételi űrlap nem található.
































